ProClip er bilspesifikk, den er unikt utviklet for hver bilmodell og har perfekt passform. ProClip tilbyr en stabil monteringsplattform og finnes med flere plasseringalternativer for de fleste bilmodeller. Diskré design som smelter godt inn i interiøret. Trafikksikkert, stilig og komfortabelt!
ProClip er enkel å montere, du klarer det på ett minutt! Du klikker ganske enkelt ProClip inn i sprekker i dashbordet, du trenger ikke å bore hull eller bruke spesialverktøy, og du trenger ikke å skru fra dashbordet. En detaljert monteringsanvisning følger med. ProClip har AMPS-hull som forenkler montering av holder. Produsert av høykvalitets ABS/Acetal-plast. Farge: Svart. Utviklet og produsert i Sverige.
- Vil du kunne bytte mellom flere holdere på samme ProClip? Se Brodits MultiMoveClip.
- Skal du montere større enheter eller tyngre utstyr? Se Brodits forsterkede monteringsbøyler og Piedestalfester (PM-fester).
- Brodit ProClip
- Tesla Model Y 25-
- Tesla Model Y Juniper 25-
- Center mount
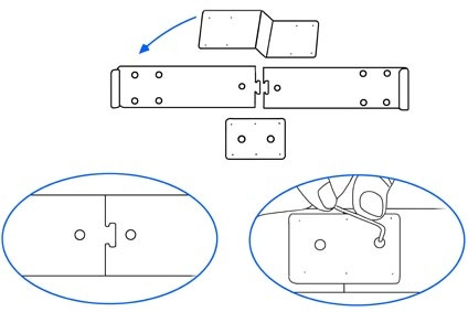
Les hele anvisningen nøye og se på bildene før monteringen påbegynnes. Det er viktig å montere ProClip-festet først: enhetsholder/utstyr bør monteres etter at festet er på plass. Dette festet består av fire deler.
1. Sett sammen festets deler. Plasser skjøteplaten på festets mønstrede side og fest med de medfølgende skruene.
2. Skru fast monteringsplaten på festets venstre side med de medfølgende skruene. Bruk den medfølgende våtservetten til å rengjøre området der festet skal monteres. Fjern beskyttelsesplasten på den dobbeltsidige tapen.
3. Hold festet over skjermen slik at monteringsplaten er på førersiden av skjermen. Trykk forsiktig og hardt ned på festets begge sider for å klikke det på plass på begge sider av skjermen. Dra forsiktig i sidene for å lette monteringen. Trykk ned til festet sitter godt på plass.
4. ProClip-festet er på plass, monteringsplaten er på førersiden av skjermen.
Brodit ProClip
Brodits todelte monteringsløsning gir deg en installasjon som passer dine behov perfekt. Den ene delen er en enhetsholder, tilpasset akkurat din mobiltelefon, nettbrett eller annen håndholdt enhet. Sammen med denne brukes en ProClip - et monteringsfeste designet spesifikt for din bilmodell. ProClip installeres helt uten skruer og uten å skade bilens interiør. Fleksibelt, stabilt og sikkert. Enklere blir det ikke!
For å finne holder til enheten din: Klikk her
For å finne feste til bilen din: Klikk her
Passar till
Tesla Model Y 25-
Tesla Model Y Juniper 25-
Norge
Sverige
Finland












